• IP65 rated
  • 100,000-Hour LED lifespan
  • 5-Year Limited Warranty
View Technical Specs
Performance
Watts 6W
Color Temp 3000K
Lumens 532 lm
Efficacy 80.2
Color Accuracy 84 CRI
L70 Lifespan 100,000 Hours
Type Constant Current
120V 0.06A
208V 0.03A
240V 0.03A
277V 0.03A
Input Watts 6.6W
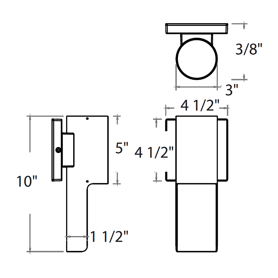
Dimensions
Link to Dimension Drawing

Weight: 2.6 lbs

Technical Specifications
Compliance
UL Listed
Suitable for wet locations
IP Rating
Ingress protection rating of IP65 for dust and water
IESNA LM-79 & LM-80 Testing
RAB LED luminaires and LED components have been tested by an independent laboratory in accordance with IESNA LM-79 and LM-80.
Trade Agreements Act Compliant
This product is a product of Cambodia and a "designated country" end product that complies with the Trade Agreements Act
LED Characteristics
LEDs
Long-life, high-efficacy, discrete, surface-mount LEDs
Color Consistency
7-step MacAdam Ellipse binning to achieve consistent fixture-to-fixture color
Color Uniformity
RAB's range of Correlated Color Temperature follows the guidelines of the American National Standard for (SSL) Products, ANSI C78.377-2017.
Electrical
Driver
Constant Current, Class 2, 120-277V, 50/60 Hz, 120V: 0.06A, 208V: 0.03A, 240V: 0.03A, 277V: 0.03A
THD
5.8% at 120V, 10.8% at 277V
Power Factor
99.7% at 120V, 93.1% at 277V
Dim to Off
No
Aux Power Supply
No
Construction
Cold Weather Starting
The minimum starting temperature is -40°F (-40°C)
Maximum Ambient Temperature
Suitable for use in up to 113°F (45°C)
Housing
Die-cast aluminum
Lens
Polycarbonate lens
Gaskets
High-temperature silicone
Finish
Formulated for high durability and long-lasting color
Green Technology
Mercury and UV free. RoHS-compliant components.
Installation
Mounting
Octangular J-Box or bracket for the wall-mount (J-Box not provided)
Optical
BUG Rating
B0 U3 G0
Other
5-Year Limited Warranty
The RAB 5-year, limited warranty covers light output, driver performance and paint finish. RAB's warranty is subject to all terms and conditions found at rablighting.com/warranty.

Recently Viewed Products

 This is a link to the product IVAT4-130LPA740GH/WS2 IVAT4-130LPA740GH/WS2
Area Lights 14456 Lumens Ivat4 Type Iv 117W Universal Pole Mount 70Cri 4000K Roadway Gray 347-480V 0-10V Dimming 20 Feet Lens Wattstopper Sensor
 This is a link to the product OCPP3-CL OCPP3-CL
Standard Ocpp Subscription 3 Year From Chargelab
 This is a link to the product SLIM57/D10 SLIM57/D10
Wall Packs 5579 Lumens Slim 57W 0-10V Dimming Bronze
 This is a link to the product HALVS10L935-FG1-K/BL/E2 HALVS10L935-FG1-K/BL/E2
Architectural 816 Lumens Halvs Forward & Up/Down Light 14W 90Cri 3500K Frosted Lens With Grill Style 1 Black Finish Bi-Level Control Battery Backup
 This is a link to the product IVAT4-75LWM750ZU IVAT4-75LWM750ZU
Area Lights 7429 Lumens Ivat4 Type Iv 67W Wall Mount 70Cri 5000K Bronze 120V-277V 0-10V Dimming
 This is a link to the product RAIL400W/D10/WS4 RAIL400W/D10/WS4
High Bay 53141 Lumens Rail 52 Inches 400W 5000K Led 120V-277V 0-10V Dimming 40 Feet Wattstopper Sensor White
 This is a link to the product IVAT4-130LPA740GH/WS2 IVAT4-130LPA740GH/WS2
Area Lights 14456 Lumens Ivat4 Type Iv 117W Universal Pole Mount 70Cri 4000K Roadway Gray 347-480V 0-10V Dimming 20 Feet Lens Wattstopper Sensor
 This is a link to the product OCPP3-CL OCPP3-CL
Standard Ocpp Subscription 3 Year From Chargelab
 This is a link to the product SLIM57/D10 SLIM57/D10
Wall Packs 5579 Lumens Slim 57W 0-10V Dimming Bronze
 This is a link to the product HALVS10L935-FG1-K/BL/E2 HALVS10L935-FG1-K/BL/E2
Architectural 816 Lumens Halvs Forward & Up/Down Light 14W 90Cri 3500K Frosted Lens With Grill Style 1 Black Finish Bi-Level Control Battery Backup
Link to Live Chat

Contact us

A RAB support representative will respond soon.

Send a message
Link to Lighting Design

Lighting Design

Our lighting designers can help you create a custom layout.

Request Lighting Layout
Link to DLC qualified products

DesignLights Consortium®

Find DLC qualified products.

Learn More
Link to Where to Buy

Where to Buy

Find a distributor or RAB Sales Representative.

Go to Locator